ГОСУДАРСТВЕННОЕ БЮДЖЕТНОЕ ПРОФЕССИОНАЛЬНОЕ ОБРАЗОВАТЕЛЬНОЕ УЧРЕЖДЕНИЕ ВЛАДИМИРСКОЙ ОБЛАСТИ
«МУРОМСКИЙ ПРОМЫШЛЕННО – ГУМАНИТАРНЫЙ КОЛЛЕДЖ»
МЕТОДИЧЕСКИЕ
УКАЗАНИЯ
к лабораторным работам
по курсу
«Устройство автомобиля»
Составитель:
Преподаватель дисциплин профессионального цикла Лабутов С.В
Муром, 2018
Лабораторная работа № 1
ТРАНСМИССИЯ АВТОМОБИЛЕЙ
Часть 1 Схемы трансмиссий.
1. На рис.1 дать названия основных механизмов трансмиссии автомобиля 4x2.

1._____________________________
2._____________________________
3._____________________________
4._____________________________
5._____________________________
6._____________________________
Рис. 1 - Схема трансмиссии 4x2 с передним соположением двигателя и задними ведущий колесами
2. Пользуясь теми же условными обозначения, что на рис. 1, начертить схемы трансмиссий трех моделей автомобилей (по указанию преподавателя) и назвать основные механизмы.
Рис. 2 – Схемы трансмиссий
| 1.___________________________ 2.___________________________ 3.___________________________ 4.___________________________ | 5.___________________________ 6.___________________________ 7.___________________________ 8.___________________________ |
Часть II. Сцепление и коробка передач.
1. Начертить схему однодискового сцепления с периферийным расположением пружин и гидравлическим приводом.
Рис 3 - Схема однодискового сцепления:
Ведущие детали_____________________________________________
___________________________________________________________
Ведомые детали_____________________________________________
___________________________________________________________
Элементы включения-выключения_____________________________
___________________________________________________________
2. На рисунке обозначить основные детали и выписать их под рисунком, объединив по назначению в три указанные группы.
3. На схеме трехвальной коробки передач (рис. 4) показать, крепление шестерен и муфты на валах, используя принятые условные обозначения:

| а) жесткое соединение | б) шлицевое (скользящее) соединение | в) свободное соединение |

1._______________________________
2._______________________________
3._______________________________
4._______________________________
5._______________________________
6._______________________________
7._______________________________
8._______________________________
9._______________________________
10._______________________________
U1 =__________________
U2 =__________________
U3 =__________________
Рис. 5 - Схема трехвальной трехступенчатой коробки передач
4. Обозначить на рис. 5 основные детали коробки передач.
5. Показать на рис. 5 геометрические размеры деталей, по которым можно определить передаточное число U на каждой передаче. По данным схемы рассчитать передаточные числа U1... U.
Часть III. Главная передача и дифференциал.
1. На рис. 6 начертить схемы червячной, конической и гипоидной главных передач.
а) б) в)
Рис. 6 - Главные передачи:
а) червячная, б) коническая, в) гипоидная
4. Дополнить на рис. 7 схему поворота автомобиля, показав конический симметричный дифференциал в приводе к задним ведущим колесам. Обозначить на схеме основные детали дифференциала.
1
.__________________________
2.__________________________
3.__________________________
4.__________________________
5.__________________________
Рис. 7. Схема поворота автомобиля
Контрольные вопросы по теме «Трансмиссия автомобиля»
Зазором между какими деталями определяется свободный ход педали сцепления? Для чего он нужен и как регулируется?
Как передается крутящий момент на нажимной диск в сцеплениях ЗИЛ-130, ГАЗ-24, BA3-2110?
Назначение и устройство гасителя крутильных колебаний.
Где применяется и какие особенности имеют двухдисковый сцепления? сцепления с диафрагменной пружиной?
Назначение, устройство и работа синхронизаторов ГАЗ, ЗИЛ, ВАЗ.
Назначение и конструктивные особенности коробок передач с делителем (например, КамАЗ) или демультипликатором (например, МАЗ).
Назначение и устройство раздаточной коробки. Назначение межосевых дифференциалов и особенности несимметричных дифференциалов.
Принцип работы и основные достоинства ГМП.
Что такое карданные шарниры равных и неравных угловых скоростей? Как можно добиться синхронности вращения валов, соединенных карданной передачей с асинхронными шарнирами?
Для чего служит и как устроено компенсирующее звено карданной передачи?
Какое кинематическое свойство шарнира обеспечивает синхронность передачи вращения? Как оно обеспечивается в изученных типаж шарниров равных угловых скоростей?
Где и почему применяются синхронные карданные шарниры?
В каких условиях и каким образом проявляется недостаток симметричных дифференциалов?
В чем смысл блокировки дифференциала? Как распределяется при этом крутящий момент между колесами?
В чем особенности самоблокирующегося дифференциала по сравнению с симметричным и с блокируемым?
Принцип работы и устройство дифференциала ГАЗ-66.
Типы полуосей. Области применения и конструкция полуосей различных типов.
Лабораторная работа №2
ХОДОВАЯ ЧАСТЬ АВТОМОБИЛЯ
Часть I. Подвеска
1. Дополнить схему подвески на рис. 1 необходимыми элементам. Указать их назначение

1.___________________________________
2.___________________________________
3.___________________________________
Рис. 1 - Принципиальная схема подвески
2. В таблице 1 перечислить детали, выполняющие функции упругих , направляющих и гасящих элементов в подвесках указанных автомобилей.
Таблица 1
| Модель автомобиля | Передняя подвеска | Задняя подвеска | ||||
| упругий | направл. | гасящий | упругий | направл. | гасящий | |
| 1. BA3-2101 2. ГАЗ-24 3. ЗАЗ-968 4. 5. (4 и 5 по указанию преподавателя) |
|
|
|
|
|
|
3. На рис. 2 показать способы соединения концов листовых рессор с рамой (кузовом) автомобиля, применяющиеся на ЗИЛ-130, ГАЗ-24, ГАЗ-53А.

a)__________________ б)_________________ в)_________________
Рис. 2 Способы крепления листовой рессоры, к раме (кузову) автомобиля
2. На схеме гидравлического амортизатора выписать названия обозначенных элементов.
1.___________________________________
2.___________________________________
3.___________________________________
4. ___________________________________
5. ___________________________________
6. ___________________________________
Рис. 3 - Схема гидравлического телескопического амортизатора
Часть II. Колеса. Шины.

________________________________
________________________________
________________________________
________________________________
________________________________
________________________________
________________________________
________________________________
________________________________
_______________________________
Рис. 4 - Шина на колесе с плоским ободом
1. На рис.4 назвать обозначенные элементы шины и колеса.
2. Определить типы рисунков протектора, показанное на рис. 5.

а)_________________ б)__________________ в)_________________
Рис. 5 - Типы рисунков протектора
Контрольные вопросы по теме: «Ходовая часть автомобиля»
Какие достоинства и недостатки имеет конструкция автомобиля с несущим кузовом по сравнению с рамной конструкцией?
Какие силы и моменты воспринимает направляющий элемент подвески ведущего колеса?
Каковы достоинства и область применения пневматических упругих элементов подвески?
Назначение и устройство дополнительной рессоры в подвеске грузового автомобиля.
Назначение и способы регулировки развала и схождения колес автомобиля.
Какие существуют типы колес? Привести примеры автомобилей, имеющих колеса различных типов.
По каким признакам классифицируют автомобильные шины?
Каково различие в конструкции и свойствах диагональных и радиальных шин?
Особенности конструкции и свойства бескамерной шины.
Как влияет внутреннее давление в шине на ее грузоподъемность? долговечность? проходимость? расход топлива автомобилем?
Лабораторная работа №3
РУЛЕВОЕ УПРАВЛЕНИЕ
Часть. I. Рулевые механизмы и приводы.
1. На рис. 1 схематично изобразить основные типы рулевых механизмов. Обозначить их ведущие и ведомые детали.
| а) червяк – боковой сектор 1______________ 5______________ 9______________ | б) червяк- ролик 2_____________ 6_____________ 10____________ | в) винт- гайка- рейка-сектор 3____________ 7____________ 11___________ | г) шестерня-рейка 4___________ 8___________ 12__________ |
Рис. 1. Типы рулевых механизмов
2. В таблице 1 указать, какой из типов рулевых механизмов, применяется на перечисленных моделях автомобилей.
Таблица 2
| Модель автомобиля | ВАЗ-2108 | ГАЗ-24 | КраЗ-257 | ЗИЛ-130 |
| Тип рулевого механизма |
|
|
|
|
3. На рис. 2 начертить схемы рулевого привода при зависимой (а) и независимой (б) подвесках управляемых колес. Обозначить основные детали.
а) б)
| 1 - рулевой механизм, 2 - _______________________ 3 - _______________________ 4 - _______________________ | 5 - _______________________ 6 - _______________________ 7 - _______________________ 8 - _______________________ |
Рис. 2. Схемы рулевого привода
4. На рис. 16а показать стрелками силы, действующие на колеса автомобиля при повороте. На рис. 16б показать шкворень, установленный с наклоном в продольной плоскости, точку приложения боковой силы и ее плечо, за счет которого возникает стабилизирующий момент.

Рис.3. Схема поворота автомобиля (а) и возникновения стабилизирующего момента на управляющем колесе (б)
Часть II. Гидроусилители рулевого управления
Нa схеме (рис. 4) гидроусилителя рулевого управления выписать названия элементов. Выделить цветным карандашом элементы, обеспечивающие следящие действия по углу поворота и по силе.

| 1 - _________________________ 2 - _________________________ 3 - _________________________ 4 - _________________________ 5 - _________________________
| 6 - _________________________ 7 - _________________________ 8 - _________________________ 9 - _________________________ 10 - ________________________ |
Рис. 4. Схема гидроусилителя рулевого управления
2. На схемах компоновки основных элементов гидравлических усилителей указать: 1 - рулевой механизм, 2 - распределитель, 3 -исполнительный цилиндр. Назвать модели автомобилей, к которым относятся схемы а, б и в.

а)_________________ б)__________________ в)_________________
Рис 5. Схемы компоновки основных элементов гидроусилителей:
1 - рулевой механизм;
2 - распределитель;
3 - исполнительный цилиндр
Контрольные вопросы по теме «Рулевое управление»
1. Какое свойство управляемых колес обеспечивается рулевой трапецией?
2. Назначение стабилизации управляемых колес. За счет чего она возникает?
3. Как регулируют зазор в рулевых механизмах изученных автомобилей? При каком положении управляемых колес он должен быть минимальным?
4. Что такое обратимость рулевого механизма, для чего она необходима?
5. В каких случаях и за счет чего усилитель рулевого, управления повышает безопасность автомобиля?
6. В чем особенность обратной связи в усилителе ЗИЛ-130 по сравнению с другими изученными гидроусилителями рулевого управления?
Лабораторная работа №4
ТОРМОЗНОЕ УПРАВЛЕНИЕ
Часть I. Тормозные механизмы.
1. На схемах барабанных тормозных механизмов (рис.18) показать стрелками и обозначить силы, действующие на колодки со стороны привода и со стороны барабана. Силы со стороны барабана /словно считать сосредоточенными в середине колодок.

Рис. 1 - Схемы сил, действующих в барабанных тормозных механизмах
Дать названия тормозных механизмов, схематично показанных на рис. 20. Записать в таблице 3, какие из этих механизмов применяются на перечисленных моделях автомобилей.

а)___________ б)____________ в)____________ г)_______________
Рис. 2 - Схемы тормозных механизмов
Таблица 1
| Модели автомобилей | ГАЗ- 53А | ГАЗ- 24 | ЗАЗ-968 | ВАЗ-21011 | ЗИЛ-130 | |
| Передний тормоз Задний тормоз |
|
|
|
|
|
|
Часть II. Гидравлический привод тормозов.
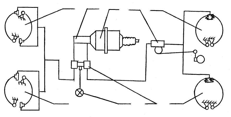
1. На схеме гидравлического привода тормозов ГАЗ-24 (рис.3) назвать основные элементы.

| 1 - _________________________ 2 - _________________________ 3 - _________________________ 4 - _________________________ 5 - _________________________
| 6 - _________________________ 7 - _________________________ 8 - _________________________ 9 - _________________________
|
Рис. 3 - Схема гидравлического привода тормозов автомобиля ГАЗ-3102.
2. Начертить на рис. 22 схему тормозного привода автомобиля ВАЗ-2101 и назвать ее основные элементы.
| 1 - _________________________ 2 - _________________________ 3 - _________________________ 4 - _________________________ 5 - _________________________
| 6 - _________________________ 7 - _________________________ 8 - _________________________ 9 - _________________________ 10 - ________________________ |
Рис. 4. Схема гидравлического привода тормозов автомобиля BA3-2101
Часть III. Пневматический привод тормозов.
На схемах следящих механизмов (рис. 5) расставить номера позиций.

а) прямого действия б) обратного действия
| 1- чувствительный элемент (поршень), 2 - пружина хода, 3 – клапан, 4 - неподвижное (впускное) седло, | 5 - подвижное (выпускное) седло, 6 - пружина клапана; 7 - возвратная пружина поршня; 8 - уравновешивающая пружина;
|
Рис. 5. Следящие механизмы с чувствительным поршнем
2. Начертить на рис. 6 схему пневмопривода тормозов автомобиля ЗИЛ-130 и назвать основные элементы.
| 1 - _________________________ 2 - _________________________ 3 - _________________________ 4 - _________________________ 5 - _________________________
| 6 - _________________________ 7 - _________________________ 8 - _________________________ 9 - _________________________ 10 - ________________________ |
Рис. 6 - Схема пневмопривода тормозов автомобиля ЗИЛ-130
3. В таблице 2 обозначить знаком + наличие следящих механизмов прямого или обратного действия в перечисленных аппаратах пневматического тормозного привода.
Таблица 2
| Пневмо- аппараты | Верхняя секция тормозного крана ЗИЛ-130 | Нижняя секция тормозного крана ЗИЛ-130 | Воздухораспределитель прицепа ПААЗ (при однопроводной схеме) | Верхняя секция тормозного крана КамАЗ | Нижняя секция тормозного крана КамАЗ |
| 1. Следящий механизм прямого действия |
|
|
|
|
|
| 2. Следящий механизм обратного действия |
|
|
|
|
|
4. На схеме рабочей системы автомобиля КамАЗ назвать основные элементы.

| 1 - _________________________ 2 - _________________________ 3 - _________________________ 4 - _________________________ 5 - _________________________ 6 - _________________________
| 7 - _________________________ 8 - _________________________ 9 - _________________________ 10 - ________________________ 11 - ________________________ |
Рис. 7. Тормозная (рабочая) система автомобиля КамАЗ
Контрольные вопросы по теме «Тормозное управление»
На схемах тормозных механизмов (рис.20) показать активные и пассивные тормозные колодки. Объяснить разницу в их эффективности.
В чем достоинство дисковых тормозных механизмов?
Как обеспечивается удержание колодок в одной плоскости в барабанных тормозных механизмах изученных моделей автомобилей?
Как регулируется зазор между колодками и барабаном? Рассказать об автоматическом и ручном способах регулировки.
Где применяются механический, гидравлический и пневматический приводы тормозов?
Какую энергию использует гидровакуумный усилитель тормозов? Как обеспечивается в нем следящее действие?
Назначение регулятора тормозных сил. Принцип их действия в гидравлическом и пневматическом приводах тормозов.
Устройство и работа двойного главного тормозного цилиндра автомобилей ВАЗ.
Принцип работы, достоинства и недостатки одно- и двухпроводной схемы пневматического привода тормозов автопоезда.
Устройство и работа тормозного крана КамАЗ.
Перечислить аппараты современного пневматического тормозного привода (на примере КамАЗа) и назвать их назначение.
5


Устройство автомобиля (532.5 KB)

