Инструкционно – технологическая карта
Подбор игл и заправка нитей в высокоскоростной одноигольной промышленной швейной машины челночного стежка
Составил мастер производственного обучения Стрельцов В.В.
| Технологический процесс | Указания и пояснения |
| 1. Подобрать иглу по номеру и типу заточки.
| Игла подбирается в соответствии с образцом материала |
|
| |
|
| |
|
2. Установить иглу в иглодержателе и закрепить её.
|
Игла устанавливается в иглодержателе в зависимости от рекомендаций и класса машины.
\
1-игла; 2 – игловодитель; 3 – винт; 4 -короткая выемка на игле. |
|
3. Изучить устройство автоматической моталки.
4. Изучить устройство шпульного колпачка.
|
1-основание намотчика; 2-основание намотчика нити ; 3-намотчик нити; 4-винт; 5-штанга намотчика шпульки; 6-соединительный стержень; 7-штифт соединительного стержня; 8-стержень рамы намотчика шпульки; 9-штифт стержня рамы намотчика шпульки; 10-винт 1/8- 44 дл=3; 11-штифт рамы намотчика шпульки; 12-пружина рамы намотчика шпульки; 13-резиновый тормоз; 14- прижимная пластина; 15- винт 11/64- 40 дл=3; 16- пружина намотчика шпульки; 17- шарнирный винт; 18- скоба натяжения нити; 19- винт; 20- хомут диска натяжения намотчика шпульки; 21- диск натяжения; 22 – пружина натяжения; 23 – гайка штифта натяжения нити; 24 – винт 11/64- 40 дл=7,8; 25 – шуруп; 26 – шайба;
1;2 – винты крепления пластинчатой пружины; 3 – пластинчатая пружина; 4 – палец пластинчатой пружины; 5 – язычок пластинчатой пружины; 6 – паз; 7 – правая стенка окна; 8 - вырез; 9 – шпулька; 28 – пластина;
|
|
5. Намотать нитки на шпульку с помощью автоматической моталки.
6. Установить шпульку в шпульный колпачок и заправить нитку под прижимную пластину
1 – винт натяжения челночной нитки; 5- шпульный колпачёк; 6 – рычаг;
|
1 – установить шпульку на штангу намотчика шпульки; 2 – намотать чуть на шпульку нить; 3 – примкнуть намотчик нити к ремённой передаче привода швейной машины;
1. Установить шпульку в шпульный колпачёк
2.Заправить нитку под прижимную пластину
|
|
7. Поместить шпульный колпачок в челночный комплект до фиксирования защёлки на стержне шпуледержателя.
2- стержень шпуледержателя; 3 – шпуледержатель; 4 – вырез шпуледержателя; 5- шпульный колпачёк; 6 – рычаг;
|
|
|
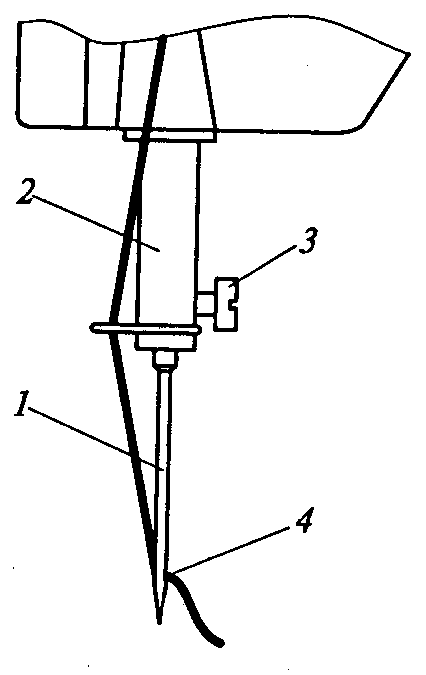
8. Заправить игольную нитку согласно схеме.
1- лапка; 2 – регулятор натяжения верхней нитки; 3; 4 и 7- отверстия нитенаправителя; 5 – верхняя нитка; 6 – дополнительный регулятор натяжения; 7- нитенаправитель; 8; 10;11 – нитепритягиватель; 12 – ушко иглы;
|
Схема заправки верхней нити
|
| 9. Вывести челночную нитку на поверхность игольной пластины, удерживая конец игольной нитки, проворачивая вручную шкив машины.
13 – фиксация рукой конца игольной нитки; 14 – челночная нитка; 15 – лапка.
|
|


Инструкционно – технологическая карта "Подбор игл и заправка нитей в высокоскоростной одноигольной промышленной швейной машины челночного стежка" (1.15 MB)

