Тема управление самолетом Ан-2.
Загфаров Тахир Талгатович
17.04.2026.
Тест. Прочее, Прочее
Тема управление самолетом Ан-2, управление элеронами, рулями.
Система оценки:
5* балльная
Список вопросов теста
Вопрос 1
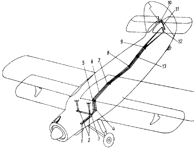
Какая проводка управления элеронами?
Варианты ответов
- смешанного типа: от штурвалов до двуплечей качалки на шпангоуте № 4 — тросовая и от двуплечей качалки до элеронов — жесткая.
- смешанного типа: от штурвалов до двуплечей качалки на шпангоуте № 5 — тросовая и от двуплечей качалки до элеронов — жесткая.
- смешанного типа: от штурвалов до двуплечей качалки на шпангоуте № 6 — тросовая и от двуплечей качалки до элеронов — жесткая.
Вопрос 2
Где установлены тандеры для регулирования тросов управления элеронами?
Варианты ответов
- У шпангоута № 5.
- У качалки шпангоута № 6.
- У качалки шпангоута № 8.
Вопрос 3
Где проверяют натяжение тросов элеронов самолёта Ан-2?
Варианты ответов
- Замер выполняется на вертикальной части у шпангоута №5.
- Замер выполняется на горизонтальной части у шпангоута №6.
- Замер выполняется на горизонтальной части у шпангоута №8.
Вопрос 4
Как осущесвляется зависание элеронов?
Варианты ответов
- Зависание элеронов на угол 16° при отклонении закрылков осуществляется поворотом качалок зависания 4, связанных тягами 10 отклонения закрылков.
- Зависание элеронов на угол 16° при отклонении закрылков осуществляется поворотом Г-образных качалок зависания 8, связанных тягами 9 отклонения закрылков.
- Зависание элеронов на угол 16° при отклонении закрылков осуществляется поворотом качалок 4 и 8, связанных тягами 9 отклонения закрылков.
Вопрос 5
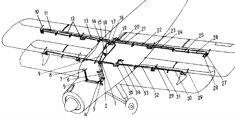
Где установлены ролики тросовой проводки управления?
Варианты ответов
- у шпангоута №1, № 5 ( № 5, № 8, №15, №21, №25.
- на штурвальной колонке, шпангоута №1 (поз.1), на нижнем узле шпангоута № 5 верхнем узле шпангоута № 5, шпангоут № 8, №15, №21,№25.
- у шпангоута №1 на нижнем узле шпангоута № 5, шпангоут № 8, на шпангоуте №15 и дальше через ролики на шпангоуте №21,на шпангоуте №25.
Вопрос 6
Из каких элементов состоит тандер и трос?
Варианты ответов
- 1 — коуш; 2 — наконечник; 3 — муфта; 4 — отверстие для вращения муфты; 5 — контрольное отверстие
- 1 — коуш; 2 — ушковый болт; 3 — муфта; 4 — отверстие для вращения муфты; 5 — контрольное отверстие
- 1 — коуш; 2 — наконечник; 3 — рубашка; 4 — отверстие для вращения рубашки; 5 — контрольное отверстие
Вопрос 7
Под какими цифрами обозначены нажимные переключатели управление триммерами элерона, руля высоты и руля направления?
Варианты ответов
- 9;10;11.
- 10; 9; 11.
- 11;9;10.
Вопрос 8
Что обозначено позициями 2,5,12 в системе управления рулем направления?
Варианты ответов
- 2— сектор левой педали, 5— соединительная тяга правой и левой педалей,12— тандеры.
- 2— сектор левой педали, 5— соединительная тяга правой и левой педалей,12— ролики на шп.№21.
- 2— качалка левой педали, 5— соединительная тяга правой и левой педалей,12— ролики.
Вопрос 9
Что обозначено позициями 7,8,9,13 в системе управления рулем высоты?
Варианты ответов
- 7—качалка шпангоуте № 8; 8— тандер; 9— ролики на шпангоуте № 21; 13— ролики.
- 7—ролики на шпангоуте № 8; 8— ролики на шпангоуте № 15; 9— ролики на шпангоуте № 21; 13— тандеры.
- 7—ролики на шпангоуте № 8; 8— тандеры; 9— ролики на шпангоуте № 21; 13— ролики на шпангоуте № 15 .
Вопрос 10
Что обозначено позициями 7,8,9,13 в системе управления рулем высоты?
Варианты ответов
- 9- тандер;10— тяга управления элерона; 11, 12, 13, 15, 17, 20— тяги к элеронами; 16— качалка управления элеронами на шпангоуте № 6;
- 9- тандер;10— тяга к элерону; 11, 12, 13, 15, 17, 20— тяги управления элеронами; 16— качалка управления элеронами на шпангоуте № 6;
- 9- тяга к качалке;10— тяга к элерону; 11, 12, 13, 15, 17, 20— тяги управления элеронами; 16— ролики к элеронами на шпангоуте № 6;
Получите комплекты видеоуроков + онлайн версии
Пройти тест
Сохранить у себя:
Тесты для учителей и школьников Прочее
0
2
Нравится
0


