Пробный тест ЕГЭ
Список вопросов теста
Вопрос 1
Найдите значение выражения
Варианты ответов
- 3
- 4
- 5
Вопрос 2
Система навигации, встроенная в спинку самолетного кресла, информирует пассажира о том, что полет проходит на высоте 37 170 футов. Выразите высоту полета в метрах. Считайте, что 1 фут равен 30,5 см.
Варианты ответов
- 1133,685
- 11336,85
- 113368,5
Вопрос 3
Установите соответствие между величинами и их возможными значениями: к каждому элементу первого столбца подберите соответствующий элемент второго столбца.
| ВЕЛИЧИНЫ | ВОЗМОЖНЫЕ ЗНАЧЕНИЯ | |
|
А) Объём воды в озере Байкал Б) Объём пакета кефира В) Объём бассейна Г) Объём ящика для фруктов |
1) 1 л 2) 23 615,39 км3 3) 72 л 4) 600 м3 |
Варианты ответов
- 1243
- 2143
- 2134
- 1342
- 1432
- 3124
- 4321
Вопрос 4
На рисунке показано изменение температуры воздуха на протяжении трех суток. По горизонтали указывается дата и время суток, по вертикали — значение температуры в градусах Цельсия. Определите по рисунку наибольшую температуру воздуха 22 января. Ответ дайте в градусах Цельсия.
Варианты ответов
- 10
- -20
- -12
- -10
Вопрос 5
На рисунке изображён план местности (шаг сетки плана соответствует расстоянию 1 км на местности). Оцените, скольким квадратным километрам равна площадь озера Щало, изображённого на плане. Ответ округлите до целого числа.
Варианты ответов
- 3
- 2
- 4
Вопрос 6
При оплате услуг через платежный терминал взимается комиссия 5%. Терминал принимает суммы кратные 10 рублям. Аня хочет положить на счет своего мобильного телефона не меньше 300 рублей. Какую минимальную сумму она должна положить в приемное устройство данного терминала?
Варианты ответов
- 300
- 310
- 320
- 330
- 340
Вопрос 7
Найдите значение выражения
Варианты ответов
- 1
- -1
- 2
- -2
- 3
- -3
Вопрос 8
В фирме «Эх, прокачу!» стоимость поездки на такси (в рублях) рассчитывается по формуле где t — длительность поездки, выраженная в минутах
Пользуясь этой формулой, рассчитайте стоимость 8-минутной поездки.
Варианты ответов
- 181
- 182
- 183
- 180
Вопрос 9
Найдите корень уравнения
Варианты ответов
- 3
- 5
- 2
- 1
Вопрос 10
Два садовода, имеющие прямоугольные участки размерами 20 м на 30 м с общей границей, договорились и сделали общий круглый пруд площадью 140 квадратных метров (см. чертёж), причём граница участков проходит точно через центр пруда. Какова площадь (в квадратных метрах) оставшейся части участка каждого садовода?
Варианты ответов
- 530
- 540
- 550
Вопрос 11
Перед началом первого тура чемпионата по бадминтону участников разбивают на игровые пары случайным образом с помощью жребия. Всего в чемпионате участвует 26 бадминтонистов, среди которых 10 участников из России, в том числе Руслан Орлов. Найдите вероятность того, что в первом туре Руслан Орлов будет играть с каким-либо бадминтонистом из России?
Варианты ответов
- 0,9
- 0,36
- 0,25
Вопрос 12
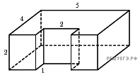
Найдите объем многогранника, изображенного на рисунке (все двугранные углы прямые).
Варианты ответов
- 40
- 36
- 32
Вопрос 13
На графике изображена зависимость скорости движения легкового автомобиля на пути между двумя городами от времени. На вертикальной оси отмечена скорость в км/ч, на горизонтальной — время в часах, прошедшее с начала движения автомобиля.
Пользуясь графиком, поставьте в соответствие каждому интервалу времени характеристику движения автомобиля на этом интервале.
| ИНТЕРВАЛЫ ВРЕМЕНИ | ХАРАКТЕРИСТИКИ ДВИЖЕНИЯ | |
|
А) второй час пути Б) третий час пути В) четвёртый час пути Г) пятый час пути |
1) автомобиль не разгонялся и некоторое время ехал с постоянной скоростью 2) скорость автомобиля постоянно снижалась 3) автомобиль сделал остановку 4) скорость автомобиля достигла максимума за всё время движения |
Варианты ответов
- 1342
- 1234
- 1243
Вопрос 14
Острые углы прямоугольного треугольника равны 62° и 28°. Найдите угол между высотой и медианой, проведёнными из вершины прямого угла. Ответ дайте в градусах.
Варианты ответов
- 35
- 33
- 34
Вопрос 15
Даны два шара с радиусами 4 и 1. Во сколько раз объём большего шара больше объёма другого?
Варианты ответов
- 16
- 64
- 4
Вопрос 16
Каждому из четырёх неравенств в левом столбце соответствует одно из решений в правом столбце. Установите соответствие между неравенствами и их решениями.
| НЕРАВЕНСТВА | РЕШЕНИЯ | |
|
А) Б) В) Г) |
1) 2) 3) 4) |
Варианты ответов
- 3421
- 1234
- 4123
- 4132
- 3421
Вопрос 17
Пять жильцов многоквартирного дома — Андрей, Борис, Виктор, Денис и Егор — имеют различный возраст. При этом известно, что возраст Андрея больше, чем сумма возрастов Бориса и Виктора, Виктор старше Дениса, но младше Егора. Выберите утверждения, которые следуют из приведённых данных.
1) Андрей самый старший из жильцов
2) Егор старше Бориса
3) Андрей старше Дениса
4) Борис старше Егора
В ответе укажите номера выбранных утверждений без пробелов, запятых и других дополнительных символов.
Варианты ответов
- 13
- 23
- 34
- 1
- 2
- 3


