ЕГЭ базовый уровень 11 класс математика
Список вопросов теста
Вопрос 1
Найдите значение выражения .
Вопрос 2
Найдите значение выражения .
Вопрос 3
В начале учебного года в школе было 400 учащихся, а к концу года их стало 500. На сколько процентов увеличилось за учебный год число учащихся?
Вопрос 4
Площадь параллелограмма можно вычислить по формуле
, где
— стороны параллелограмма (в метрах). Пользуясь этой формулой, найдите площадь параллелограмма, если его стороны 10 м и 12 м и
.
Вопрос 5
Найдите значение выражения .
Вопрос 6
Поступивший в продажу в апреле мобильный телефон стоил 2800 рублей. В мае он стал стоить 1820 рублей. На сколько процентов снизилась цена мобильного телефона в период с апреля по май?
Вопрос 7
Найдите корень уравнения Если уравнение имеет более одного корня, в ответе укажите меньший из них.
Вопрос 8
Дачный участок имеет форму прямоугольника, стороны которого равны 40 м и 30 м. Размеры дома, расположенного на участке и также имеющего форму прямоугольника, — 9 м × 6 м. Найдите площадь оставшейся части участка. Ответ дайте в квадратных метрах.
Вопрос 9
Установите соответствие между величинами и их возможными значениями: к каждому элементу первого столбца подберите соответствующий элемент из второго столбца.
| ВЕЛИЧИНЫ | ВОЗМОЖНЫЕ ЗНАЧЕНИЯ | |
|
А) масса взрослого кита Б) объём железнодорожного вагона В) площадь волейбольной площадки Г) ширина футбольного поля |
1) 162 кв. м 2) 100 т 3) 120 м 4) 68 м |
В таблице под каждой буквой укажите соответствующий номер.
Вопрос 10
На экзамен вынесено 60 вопросов, Андрей не выучил 3 из них. Найдите вероятность того, что ему попадется выученный вопрос.
Вопрос 11
В соревнованиях по метанию молота участники показали следующие результаты:
| Спортсмен | Результат попытки, м | |||||
|---|---|---|---|---|---|---|
| I | II | III | IV | V | VI | |
| Донников | 49 | 50,5 | 50 | 51 | 51 | 49,5 |
| Мелихов | 51 | 52,5 | 49,5 | 50 | 52 | 51,5 |
| Иванов | 50,5 | 50 | 49 | 51,5 | 51 | 51,5 |
| Теплицын | 52 | 51 | 52 | 50,5 | 51,5 | 51 |
Места распределяются по результатам лучшей попытки каждого спортсмена: чем дальше он метнул молот, тем лучше. Каков результат лучшей попытки (в метрах) спортсмена, занявшего второе место?
Вопрос 12
В среднем гражданин А. в дневное время расходует 120 кВтч электроэнергии в месяц, а в ночное время — 185 кВт
ч электроэнергии. Раньше у А. в квартире был установлен однотарифный счетчик, и всю электроэнергию он оплачивал по тарифу 2,40 руб. за кВт
ч. Год назад А. установил двухтарифный счётчик, при этом дневной расход электроэнергии оплачивается по тарифу 2,40 руб. за кВт
ч, а ночной расход оплачивается по тарифу 0,60 руб. за кВт
ч. В течение 12 месяцев режим потребления и тарифы оплаты электроэнергии не менялись. На сколько больше заплатил бы А. за этот период, если бы не поменялся счетчик? Ответ дайте в рублях.
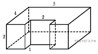
Вопрос 13
Найдите объем многогранника, изображенного на рисунке (все двугранные углы прямые).

Вопрос 14
На рисунке показано изменение температуры воздуха на протяжении суток. По горизонтали указывается время суток, по вертикали — значение температуры в градусах Цельсия.
Пользуясь диаграммой, установите связь между промежутками времени и характером изменения температуры.
| ПРОМЕЖУТКИ ВРЕМЕНИ | ХАРАКТЕР ИЗМЕНЕНИЯ ТЕМПЕРАТУРЫ | |
|
А) 00:00−06:00 Б) 09:00−12:00 В) 12:00−15:00 Г) 18:00−00:00 |
1) Температура снижалась быстрее всего 2) Температура снижалась медленнее всего 3) Температура росла быстрее всего 4) Температура росла медленнее всего |
Запишите в ответ цифры, расположив их в порядке, соответствующем буквам:
| А | Б | В | Г |
Вопрос 15
В треугольнике проведена медиана
на стороне
взята точка
так, что
Площадь треугольника
равна 5. Найдите площадь треугольника
Вопрос 16
В основании пирамиды SABC лежит правильный треугольник ABC со стороной 10, а боковое ребро SA перпендикулярно основанию и равно Найдите объём пирамиды SABC.

Вопрос 17
Каждому из четырёх неравенств в левом столбце соответствует одно из решений в правом столбце. Установите соответствие между неравенствами и их решениями.
| НЕРАВЕНСТВА | РЕШЕНИЯ | |
|
А) Б) В) Г) |
1)
2)
3)
4) |
Впишите в приведённую в ответе таблицу под каждой буквой соответствующий решению номер.
Вопрос 18
Пять наиболее длинных рек России (учитывается наибольшая длина с притоками) — это Амур, Енисей, Иртыш, Лена и Обь. При этом Лена длиннее Енисея, но короче Оби, Амур длиннее и Лены и Иртыша. Выберите утверждения, которые следуют из приведённых данных.
1) Амур — первая или вторая по длине река
2) Енисей — вторая или третья река по длине
3) Лена длиннее Иртыша
4) Амур длиннее Оби
В ответе укажите номер выбранного утверждения.
Вопрос 19
Цифры четырёхзначного числа, кратного 5, записали в обратном порядке и получили второе четырёхзначное число. Затем из первого числа вычли второе и получили 1458. Приведите ровно один пример такого числа.
Вопрос 20
Кузнечик прыгает вдоль координатной прямой в любом направлении на единичный отрезок за прыжок. Сколько существует различных точек на координатной прямой, в которых кузнечик может оказаться, сделав ровно 6 прыжков, начиная прыгать из начала координат?


