Газовая турбина двигателя АИ-24
Список вопросов теста
Вопрос 1
Укажите на схеме турбины Опору ротора
Вопрос 2
Укажите на схеме турбины Рабочее колесо второй ступени турбины
Вопрос 3
Укажите на схеме турбины Вал турбины
Вопрос 4
Укажите на схеме турбины Сопловой аппарат третьей ступени турбины
Вопрос 5
Что на схеме турбины обозначено буквой "А"?
Варианты ответов
- Полость для охлаждающего воздуха
- Масляная полость опоры
- Полость наддува воздушных уплотнений
- Полость для установки балансировочных грузиков
Вопрос 6

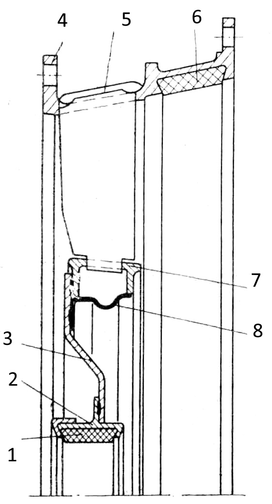
Этот элемент ротора турбины осуществлет передачу крутящего момента от одного рабочего колеса на следующее и в конечном счёте на вал турбины.
Варианты ответов
- 11
- 12
- 15
- 17
Вопрос 7

Этот элемент турбины осуществляет восприятие радиальных нагрузок, действующих от вращающегося ротора на неподвижный статор.
Варианты ответов
- 10
- 8
- 18
- 5
Вопрос 8

Этот элемент ротора турбины осуществляет взимодейтсвие с горячим газовым потоком, выходящим из камеры сгорания двигателяя.
Варианты ответов
- 8
- 4
- 2
- 1
Вопрос 9

Этот элемент ротора турбины позволяет произвести балансировку ротора.
Варианты ответов
- 15
- 5
- 11
- 18
Вопрос 10

Этот элемент второго рабочего колеса турбины обеспечивает подвод охлаждающего воздуха на поверхность диска рабочего колеса и на замки лопаток.
Варианты ответов
- 14
- 13
- 11
- 16
Вопрос 11
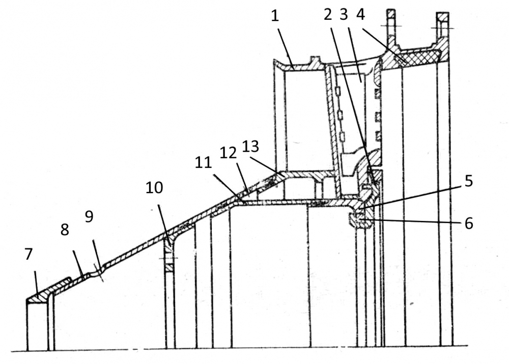
Этот элемент конструкции соплового аппарата первой ступени турбины осуществляет взаимодействие с горячим газовым потоком, выходящим из камеры сгорания двигателя.
Вопрос 12
Этот элемент конструкции соплового аппарата первой ступени турбины осуществляет поддержание минимальных зазоров между статором и ротором турбины.
Вопрос 13
Этот элемент конструкции соплового аппарата первой ступени турбины осуществляет посадку внутреннего корпуса соплового аппарата на поверхность жаровой трубы камеры сгорания.
Вопрос 14
Этот элемент конструкции соплового аппарата первой ступени турбины осуществляет фиксицию лопаток на внутреннем корпусе соплового аппарата.
Вопрос 15

Этот элемент конструкции соплового аппарата второй ступени турбины обеспечивает минимальные зазоры между концами рабочих лопаток ротора и статором турбины.
Вопрос 16

Этот элемент конструкции соплового аппарата содержит сварные швы, которыми сопловые лопатки крепятся к статору.
Вопрос 17

Этот элемент конструкции соплового аппарата второй ступени турбины обеспечивает минимальные зазоры между внутренним корпусом соплового аппарата и ротором турбины.
Вопрос 18

Этот элемент конструкции выходного устройства соединяет друг с другом наружный корпус и внутренний корпус выходного устройства.
Вопрос 19

Этот элемент конструкции выходного устройства пропускает воздух из системы суфлирования в поток выходящих газов.
Вопрос 20

Этот элемент конструкции выходного устройства необходим для крепления выхлопной трубы, отводящей газы на пределы двигателя в атмосферу.


