ДЗ на 3.02.22 10 класс
Список вопросов теста
Вопрос 1

На рисунке преведен график зависимости объема от температуры одного моля газообразного озона. По оси абсцисс отложена абсолютная температура в кельвинах. Выберите все верные утверждения
Варианты ответов
- Масса газа составляет 96 грамм
- Изменение внутренней энергии газа в процессе 12 составляет 15 кДж
- Процесс 12 является изотермическим
- Давление газа в точке 1 больше чем давление в точке 2 в два раза
- Среднеквадратичная скорость поступательного движения молекул в процессе 12 возросла на 289 м/с
- В процессе 12 газ совершает отрицательную работу
Вопрос 2

С одним молем идеального одноатмоного газа проводят процесс график которого изображен на рисунке. Выберите все верные утверждения относительно графика.
Варианты ответов
- Газ в процессе 12 совершает положительную работу
- Процесс 12 является изотермическим
- Процесс 12 не является изотермическим
- Газ в процессе 12 не совершает работу
- в процессе 12 среднеквадратичная скорость молекул выросла в 2 раза
- в процессе 12 среднеквадратичная скорость молекул не изменилась
- если в точке 1 газ имеет давление равное нормальному атмосферному, то изменение внутренней энергии в процессе 12 составит 800 кДж
- если в процессе 12 газу подвели количество теплоты равное 800 кДж, то работа газа также составит 800 кДж
Вопрос 3
Один сосуд наполнен газообразным азотом, а другой точно такой же гелием. Температура газа в обоих сосудах составляет 300К. Выберите все верные утверждения
Варианты ответов
- Из доступных данных задачи невозможно посчитать внутреннюю энергию каждого газа
- Из доступных данных задачи невозможно посчитать отношение внутренних энергий газов
- Из доступных данных задачи невозможно посчитать отношение среднеквадратичных скоростей молекул двух газов
- Если бы нам была известна плотность газов, мы могли бы подсчитать давление газа в каждом сосуде
- Из доступных данных задачи возможно посчитать отношение масс двух газов
Вопрос 4
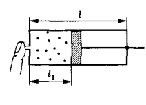
Выходное отверстие велосипедного насоса диаметром d=5 мм закрыто пальцем. Поршень сдвигают так, что он не доходит до конца насоса на расстояние \(l_1\) = 2 мм. Длина рабочего хода поршня \(l_{ }\) = 0,4 м. Считайте сжатие изотремическим. Давление атмосферы принять за \(10^5\) Па. Выберите все верные утверждения.
Варианты ответов
- Изменение внутренней энергии газа в насосе равно 0
- Давление газа в насосе возросло в 20 раз по сравнению с начальным
- Температуру газа в насосе подсчитать невозможно
- Сила давления газа на палец в конечном состоянии составляет 3,95 Н


