Тест по теме "Ланцетник"
Автор скрыт
15.01.2024.
Тест. Биология, 8 класс
Тест предназначен для проверки знаний у учащихся 8 классов
Система оценки:
10 балльная
Список вопросов теста
Вопрос 1
1. Кто из перечисленных животных относится к хордовым животным?
Варианты ответов
- Махаон
- Ланцетник
- Муравей
Вопрос 2
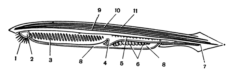
2. Какой цифрой на рисунке изображена хорда?
Варианты ответов
- 9
- 10
- 11
Вопрос 3
3. Симметрия тела у всех хордовых животных…
Варианты ответов
- радиальная
- двусторонняя
- лучевая
Вопрос 4
4. Кровеносная система ланцетника представлена спинным и брюшным кровеносынми сосудами. Они на рисунке указаны цифрами....
Варианты ответов
- 10, 11
- 4, 7
- 8, 9
Вопрос 5
5. Тип Хордовые подразделяется на …
Варианты ответов
- два подтипа
- три подтипа
- четыре подтипа
Вопрос 6
6. На рисунке органы пищеварительной системы указаны цифрами....
Варианты ответов
- 1,2,8,9,10
- 3,6,7,8,11
- 4,5,6,9,11
- 1,2,3,4,5
Вопрос 7
7. Органы дыхания у ланцетника представлены...?
Варианты ответов
- жаберными щелями
- жаберными крышками
- жаберными тычинками
Вопрос 8
8. Нервная трубка на рисунке обозначена цифрой....
Варианты ответов
- 11
- 5
- 9
- 7
Вопрос 9
9. Выделительная система у ланцетника представлена.....
Варианты ответов
- протонефридиями
- изогнутыми трубочками
- метанефридиями
- зелеными железами
Вопрос 10
10. Выберите верные утверждения:
Варианты ответов
- Ланцетник является переходным звеном между беспозвоночными и хордовыми животными.
- Скелет ланцетника представлен хордой.
- Кровеносная система ланцетника незамкнутая.
- Выделительная система ланцетника представлена мальпигиевыми сосудами.
Получите комплекты видеоуроков + онлайн версии
Пройти тест
Сохранить у себя:
Тесты по биологии 8 класс
0
2355
Нравится
0


