Дисциплина ОКЛА.Тема Гидравлические системы.
Список вопросов теста
Вопрос 1
Что такое кавитация ?
Варианты ответов
- это холодное кипение, возникающее в жидкости при падении давления ниже давления насыщенных паров при данной температуре.
- это образование в потоке жидкости кавитационных пузырьков из-за местного повышения давления.
- образование множества пузырьков пара в областях локального изменения давления при неравномерном течении потока жидкости.
Вопрос 2
В каком ответе представлены гидравлические жидкости?
Варианты ответов
- 7-50С-3, АМГ-10, НГЖ-4, НГЖ-5.
- АМГ-10, МС-20, НГЖ-5,7-50С-3,
- 7-50С-3, FH-51, МК-22, АМГ-10.
Вопрос 3
Как осуществляется изменяние подачи жидкости в гидросистему при изменении давления в линии нагнетания в системах регулируемым насосом?
Варианты ответов
- Когда давления на выходе из насоса становится больше рабочего, происходит автоматическое переключение насоса на холостой ход за счет автомата разгрузки насоса.
- Когда давления на выходе из насоса становится больше рабочего,имеется переключатель давления, его назначение в том, чтобы автоматически выключить электрический двигатель насоса
- Когда давления на выходе из насоса становится больше рабочего, происходит уменьшение рабочего объема насоса и его производительности.
Вопрос 4
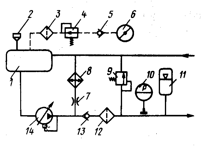
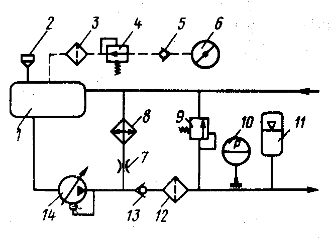
Схема гидросистемы с насосом регулируемой подачи обозначте праильно агрегаты.
Варианты ответов
- 1 - бак; 2 - заливная горловина бака; 3,12 - фильтры; 4 - реле давления; 5, 13 -обратные клапаны; 6 -заборник воздуха от компрессора двигателя; 7 -теплообменник; 8 —дроссель; 9 - предохранительный клапан;10 — манометр; 11 — гидроаккумулятор; 14 — насос
- 1 — бак; 2 — заливная горловина бака; 3,12 — фильтры; 4 — регулятор давления; 5, 13 — обратные клапаны; 6 —заборник воздуха от компрессора двигателя; 7 — дроссель; 8 — теплообменник; 9 - предохранительный клапан; 10 — манометр; 11 — гидроаккумулятор; 14 — насос
- 1 — бак; 2 — заливная горловина бака; 3,12 — фильтры; 4 — регулятор давления; 5, 13 — обратные клапаны; 6 —заборник воздуха от компрессора двигателя; 7 — дроссель; 8 — теплообменник; 9 - редукционный клапан; 10 —гидроаккумулятор; 11 —манометр; 14 — насос
Вопрос 5
Что обозначено на схеме гидросистемы с насосом регулируемой подачи под позициями 4; 9; 11 ?

Варианты ответов
- 4 -датчик давления; 9 - автомат разгрузки;11 - гаситель пульсаций.
- 4 -регулятор давления; 9 - предохранительный клапан;11 - гидроаккумулятор.
- 4 -редукционный клапан; 9 - автомат давления;11 - манометр.
Вопрос 6
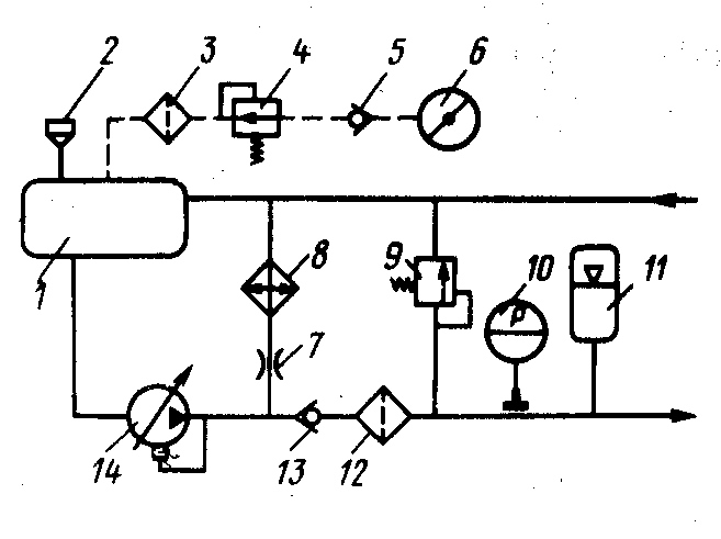
Что обозначено на схеме гидросистемы с насосной станцией под позициями 8; 10; 13?

Варианты ответов
- 8 -манометр; 10 – реле давления; 13 -насосная станция.
- 8 -гидроаккумулятор; 10 – автомат давления; 13 -насос.
- 8 -регулятор давления; 10 – дроссель; 13 -насосная станция.
Вопрос 7
Для чего в гидробаках поддерживается избыточное давление?
Варианты ответов
- Повышенное давление имеет целью предотвращение кавитации рабочей жидкости в линии слива линии.
- Повышенное давление имеет целью предотвращение кавитации рабочей жидкости в нагнетающей линии.
- Повышенное давление имеет целью предотвращение кавитации рабочей жидкости во всасывающей линии.
Вопрос 8
В системах с поддавливанием гидробака воздухом, поступающим от компрессора двигателей или из баллонов усанавливают...

Варианты ответов
- 3- влагоотделитель; 4 - автомат давления; 5- обратный клапан.
- 3- фильтр; 4 - регулятор давления; 5- обратный клапан.
- 3- сепаратор; 4 - реле давления; 5- обратный клапан.
Вопрос 9
Каккие детали обозначены позициями 2; 11; 12 ?

Варианты ответов
- 2-зарядный штуцер; 11-диафрагма; 12-штуцер.
- 2- штуцер; 11-диафрагма; 12- зарядный штуцер.
- 2-зарядный штуцер; 11-полусфера; 12-штуцер.
Вопрос 10
Какие энергетические системы применялись и применяются для уборки и выпуска шасси самолета.
Варианты ответов
- гидравлическая, пневматическая, электрическая, а также электрогидравлическая, пневмогидравлическая, механическая.
- гидравлическая, электрическая, а также электрогидравлическая, пневмогидравлическая
- гидравлическая, пневматическая, электрическая, а также электрогидравлическая, пневмогидравлическая
Вопрос 11
Какие агрегаты предотвращают образование гидроударов в гидросистеме?
Варианты ответов
- гасители пульсаций, гидроаккумуляторы.
- редукционные клапаны, гасители пульсаций.
- автоматы разгрузки, гасители пульсаций, гидроаккумуляторы.
Вопрос 12
В чем практическое отличие предохранительного клапан непрямого действия от прямого действия ?

Варианты ответов
- Предохранительный клапан непрямого действия имеет вспомогательный клапан, натяжение пружины которого регулируется на давление, при котором должен срабатывать предохранительный клапан,не требуют мощных пружин, поэтому они компактнее и легче клапанов прямого действия.
- Клапаны непрямого действия не требуют мощных пружин, поэтому они компактнее и легче клапанов прямого действия.
- Предохранительный клапан непрямого действия имеет большую чувствительность и поэтому поддерживает более стабильное давление в гидросистеме, менее подвержен автоколебаниям, компактнее и легче.
Вопрос 13
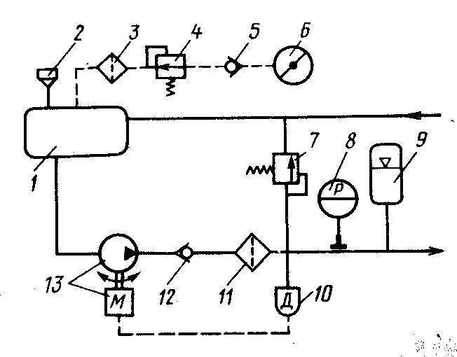
Принципиальная схема какого агрегата изображена на рисунке?

Варианты ответов
- Редукционный гидроклапан прямого действия.
- Редукционно-предохранительный гидроклапан.
- Редукционный гидроклапан переменной степени редуцирования
Вопрос 14
Основные характеристики фильтров:
Варианты ответов
- тонкость фильтрации, пропускная способность, гидравлическое сопротивление и срок службы.
- размеры ячеек, пропускная способность, гидравлическое сопротивление и срок службы.
- тип фильтроэлемента, пропускная способность, внутреннее сопротивление,давление срабатывания перепускного клапана и срок службы.
Вопрос 15
Распределительные устройства применяемые в гидросистемах самолета бывают:
Варианты ответов
- крановые, клапанные, золотниковые.
- струйные, клапанные, золотниковые.
- крановые, клапанные, сопло заслонка.


